About ANKHGEAR
ANKHGEAR is a company dedicated to creating innovative, high-quality products designed to simplify and enhance your everyday life. At the heart of our mission is a passion for innovation and craftsmanship, showcased in products like the MagZip, a revolutionary magnetic zipper that combines convenience with cutting-edge design. From smart solutions to stylish gear, ANKHGEAR brings you functional, thoughtfully designed items that make life easier and more enjoyable. Join us as we continue to innovate and deliver cool gear for your life.
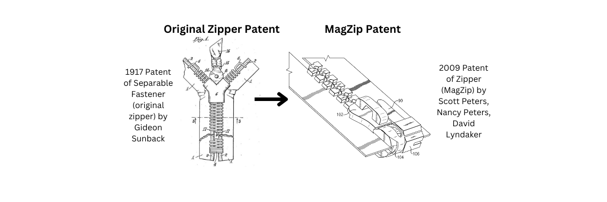
MagZip® Zippers
MagZip zippers are a game-changing innovation, featuring a magnetic base that effortlessly aligns and connects, making zipping faster and easier than ever. Perfect for people of all ages and abilities, MagZip combines convenience, reliability, and style to simplify your daily life.
ZipperBuddy
ZipperBuddy is the one-handed zipper adapter that helps you close your favorite jacket with ease—no permanent modifications, no sewing, and no stress. Designed for stroke survivors, seniors, people with disabilities, parents on the go, and anyone who wants to dress with ease. Just comfort, freedom, and independence for all ages, stages and abilities.



























