The zipper is a seemingly simple yet ingenious invention that has played a crucial role in everyday life for over a century. From clothing to bags, tents to shoes, the zipper has become an essential fastening mechanism. But how did this revolutionary tool come to be? Let’s take a journey through the history of the zipper and explore its evolution over time.
The Early Attempts
The concept of a sliding fastener dates back to the mid-19th century. In 1851, American inventor Elias Howe, best known for his sewing machine invention, patented an early version of a zipper-like device called the "Automatic, Continuous Clothing Closure." However, Howe never pursued its commercial development, leaving the idea dormant for several decades.
Whitcomb Judson: The First Practical Design
The first real breakthrough in zipper history came in 1893 when Whitcomb Judson, an American engineer, introduced the "Clasp Locker and Unlocker." This early design aimed to replace shoelaces by using a series of interlocking hooks and eyes. Judson’s invention was showcased at the 1893 Chicago World’s Fair, but it was unreliable and difficult to use, leading to limited commercial success.
Despite its flaws, Judson’s design laid the groundwork for future innovations. He went on to establish the Universal Fastener Company to commercialize his invention, and while his device never gained widespread adoption, it paved the way for later improvements.
Gideon Sundback: The Modern Zipper Takes Shape
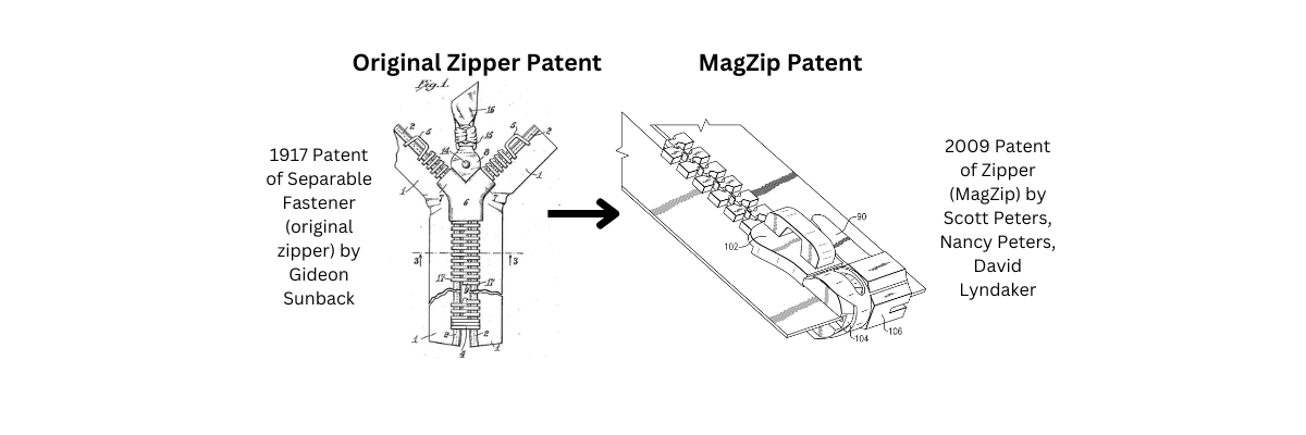
It wasn’t until 1913 that Gideon Sundback, a Swedish-American engineer, perfected the design and created what we now recognize as the modern zipper. Sundback’s “Separable Fastener” replaced hooks and eyes with interlocking metal teeth, which could be easily opened and closed with a sliding mechanism. In 1917, he was granted a patent for his design, and the zipper as we know it began to gain traction.
Sundback’s development of a manufacturing process for producing zippers in long, continuous chains helped make them commercially viable. His company, the Universal Fastener Company, went on to supply zippers for various applications, setting the stage for their widespread use.
The Name "Zipper" is Born
The name "zipper" was popularized in the 1920s when the B.F. Goodrich Company used Sundback’s fastener on rubber boots and galoshes. The company coined the term "zipper" to describe the swift motion of closing the device, and the name stuck. By the 1930s, zippers were being used in clothing, particularly men’s trousers and jackets, revolutionizing fashion and convenience.
The Zipper’s Rise to Global Popularity
By the mid-20th century, the zipper had become a staple in the fashion industry. Designers embraced its practicality, and its use expanded to women’s dresses, luggage, and military uniforms. During World War II, zippers were widely used in military gear, solidifying their place in everyday apparel and accessories.
Zippers soon became a symbol of modernization, replacing buttons in many garments. As manufacturing techniques improved, zippers became more durable, affordable, and accessible to a growing consumer market.
Innovations in Zipper Technology
Today, zippers come in a variety of materials, styles, and functionalities. Innovations such as waterproof zippers, invisible zippers, and self-repairing zippers have continued to evolve the technology. One of the most recent innovations is the MagZip, which features a magnetic base that allows for one-handed zipping—an innovation that makes fastening even more effortless and accessible.
The Invention and Expansion of MagZip
MagZip was invented in 2009 by Scott Peters, Nancy Peters, and David Lyndaker (DNS Designs, LLC.) to help Scott's Uncle, David Finger, zip up his jackets independently as he struggled with Myotonic Dystrophy. The team of two engineers and an occupational therapist then partnered with Under Armour and Ideal Fastener to commercially launch the product in 2014, bringing a revolutionary change to the zipper industry by introducing a magnetic self-aligning base that allows for easy, one-handed operation. DNS Designs (now ANKHGEAR) created MagZip to provide a better, more universal solution for separating zippers. Ideal Fastener worked with the DNS Designs team to license the patent, manufacture the product and help expand its adoption among major brands worldwide. As an improved and more accessible fastening solution, MagZip continues to set a new standard for modern zippers, offering unparalleled convenience and innovation in everyday apparel and accessories.
The Future of Zippers
While the zipper has seen many improvements over the years, ongoing innovations continue to refine its function and design. Smart zippers with built-in sensors, sustainable materials, and improved ease-of-use mechanisms are being explored by manufacturers worldwide. With advancements like MagZip leading the way, the zipper industry is poised for further evolution, making fastening systems even more user-friendly and universally applicable.
Conclusion
From its humble beginnings as a shoelace alternative to becoming a fundamental part of modern clothing and accessories, the zipper has undergone a remarkable transformation. Thanks to the ingenuity of inventors like Whitcomb Judson and Gideon Sundback, the world now enjoys the convenience and reliability of the zipper. As technology continues to advance, we can only imagine what the future holds for this everyday essential.
